
油田污水流量計
- 品*:JKM/凱銘儀表
 - 型號:JKM-LDE
 - 測量范圍:0.028~205258m3/h
 - 精度等級:0.5級、1.0級
 - 公稱通徑:DN10~DN2200
 - 適用介質:污水、導電液體
 - 工作壓力:1.6~6.3MPa
 - 工作溫度:-20~+200℃
 - 供電方式:220V 24V 鋰電池
 - 訂貨號:YOT981120GCR
 
油田污水流量計產品概述
電磁流量計是由直接接觸管道介質的傳感器和上端信號轉換器兩部分構成。它是基于法拉*電磁感應定律工作的,用來測量電導率大于3μs/cm的導電液體的流量,是一種測量導電介質流量的儀表。除了可以測量一般導電液體的流量外,還可以用于測量強酸、強堿等強腐蝕性液體和均勻含有液固兩相懸浮的液體,如泥漿、礦漿、紙漿等。電磁流量計特別設計了帶背光寬屏的中.英文液晶顯示器,功能齊全實用、顯示直觀、操作使用方便,電磁流量計在滿足現場顯示的同時,還可以輸出4~20mA電流信號供記錄、調節和控制用,現已廣泛地應用于化工、環保、冶金、醫藥、造紙、給排水等工業技術和管理部門。
油田污水流量計工作原理
電磁流量計測量原理是基于法拉*電磁感應規律。流量計的測量管是一內襯絕緣材料的非導磁合金短管。兩只電極沿管徑方向穿通管壁固定在測量管上。其電極頭于襯里內表面基本齊平。勵磁線圈由雙向方波脈沖勵磁時,將在與測量管軸線垂直的方向上產生一磁通量密度為B的工作磁場。此時,如果具有一定電導率的流體流經測量管,將切割磁力線感應出電動勢E。電動勢E正比于磁通量密度B,測量管內徑d與平均流速   的乘積、電動勢E(流量信號)由電極檢出并通過電纜送至轉換器。轉換器將流量信號放大處理后,可顯示流體流量,并能輸出脈沖,模擬電流信號,用于流量的測量和控制。
 
式中: E---------為電極間的信號電壓(v)
B---------磁通密度(T)
d---------測量管內徑(m)
V--------平均流速(m/s)
K---------常數
由于K為常數,勵磁電流是恒流的,故B也是常數,則由(1-1)式可知,體積流量Q與信號電壓E成正比,即流速感應的信號電壓E與體積流量Q成線性關系。因此,只要測量出E就可確定流量Q,這就是電磁流量計的基本工作原理。
由(1-1)式可知,被測流體介質的溫度、密度、壓力、導電率、液固兩相流體介質的液固成分比等參數不會影響測量結果。至于流動狀態只要符合軸對稱流動(如層流或紊流)就不會影響測量結果的。因此說電磁流量計是一種真正的體積流量計。
 
油田污水流量計優勢及獨特賣點
1.傳感器*重要的部件-線圈作*優化的設計,并通過*嚴格的實流試驗,切實保證產品的測量精度
2.信號電極作徹底的靜電屏蔽處理,保證小信號不會受線圈的干擾,保證低流速的測量精度
3.線圈與外界作隔離處理,保證線圈長期的絕緣強度,也就保證傳感器的長期測量精度
4.傳感器所有的焊接工藝都采用氬弧焊工藝,雖然成本較高,但能保證焊接的可靠性(焊接是傳感器的*主要的生產工藝),特別是安裝線圈后的*后一道焊接工序,用氬弧焊工藝能保證已安裝的線圈不被損傷
5.采用接地電極結構,形成一個平衡電極平面,保證整個測量平均速度的過程都被限制在平衡電極平面之內進行,能很好的消除電氣噪聲干擾,提供精確的測量結果
6.采用定制的雙層屏蔽電纜 
7.可編程頻率低頻矩形波勵磁,提高了流量測量的穩定性,功率損耗低
8.特殊介質測量(如漿液)采用高頻勵磁,消除雜波干擾
9.采用16位嵌入式微處理器,運算速度快,精度高
10.全數字處理,抗干擾能力強,測量可靠,精度高
11.超低EMI開關電源,適用電源電壓變化范圍大,抗EMC性能好
12.用單塊電路板完成所有功能設計,采用SMD器件和表面帖裝SMT)技術,電路可靠性高
13.高清晰度背光中文LCD顯示,顯示累積流量、瞬時流量、流速、流量百分比等
14.菜單操作,使用方便,操作簡單,易學易懂
15.雙向測量系統,內部具有三個積算器可分別顯示正向累計量、反向累計量及差值積算量
16.液體流量計具有自檢與自診斷功能,并在屏幕上顯示
17.獨特的防雷設計
油田污水流量計技術參數:
1、公稱通徑(mm):管道式四氟襯里:DN10~DN600;管道式橡膠襯里:DN40~DN1200;(特殊規格可定制)
2、流動方向:正,反,凈流量;
3、量程比:150:1;
4、重復性誤差:測量值的±0.1%;
5、精度等級:管道式:0.5級,1.0級;
6、被測介質溫度:普通橡膠襯里:-20~+60℃;高溫橡膠襯里:-20~+90℃;聚四氟乙稀襯里:-30~+100℃;高溫型四氟襯里:-20~+180℃;
7、額定工作壓力:DN6-DN80:≤1.6MPa;DN100-DN250:≤1.0MPa;DN300-DN1200:≤0.6MPa;(高壓可定制);
8、流速范圍:0.1-15m/s;
9、電導率范圍:被測流體電導率≥5μs/cm;
10、電流輸出:0~10mA:0~1.5kΩ;4~200mA:0~750 kΩ;負載電阻;
11、數字輸出頻率:上限可在1~5000HZ之間;
12、數字輸出方式:輸出頻率內設定帶光電隔離的晶體管集電極開路雙向輸出;
13、集電極*大電流:外接電源≤35V導通時集電極*大電流為250mA;
14、供電電源:AC220V或DC24V;
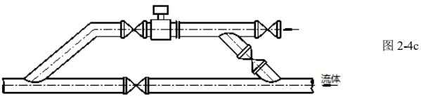
15、要求直管段長度:上游≥5DN,下游≥2DN;
16、連接方式:流量計與配管之間均采用法蘭連接;
17、連接尺寸:法蘭連接尺寸應符合GB11988規定;
18、防爆等級:mdIIBT4;
19、防護等級:IP65,特殊訂制*高可達IP68;
20、環境溫度:-25~+60℃;
21、相對溫度:5%~95%;
22、消耗總功率:小于20W;
23、信號輸出:4-20mA(負載0-750Ω),脈沖/頻率,控制電平;
24、供電電源:AC220V,允差15%;或DC24V,紋波≤5%;
25、通訊輸出:RS 485,MODBUS協議,HART協議,Profibus-DP協議;
油田污水流量計儀表選型
◆量程范圍確認
一般流量計被測介質流速以2~4m/s為宜,在特殊情況下,*低流速應不小于0.2m/s,*高應不大于8m/s。若介質中含有固體顆粒,常用流速應小于3m/s,防止襯里和電極的過分磨擦;對于粘滯流體,流速可選擇大于2m/s,較大的流速有助于自動消除電極上附著的粘滯物的作用,有利于提高測量精度。
在量程Q已確定的條件下,即可根據上述流速V的范圍決定流量計口徑D的大小,其值由下式計算:
Q=πD2V/4
Q:流量(㎡/h) D:管道內徑 V:流速(m/h)
流量計的量程Q應大于預計的*大流量值,而正常的流量值以稍大于流量計滿量程刻度的50為宜。
◆KM LDE系列電磁流量計參考流量范圍
| 口徑mm | 流量范圍m3/h | 口徑mm | 流量范圍m3/h | 
| φ15 | 0.06~6.36 | φ450 | 57.23~5722.65 | 
| φ20 | 0.11~11.3 | φ500 | 70.65~7065.00 | 
| φ25 | 0.18~17.66 | φ600 | 101.74~10173.6 | 
| φ40 | 0.45~45.22 | φ700 | 138.47~13847.4 | 
| φ50 | 0.71~70.65 | φ800 | 180.86~18086.4 | 
| φ65 | 1.19~119.4 | φ900 | 228.91~22890.6 | 
| φ80 | 1.81~180.86 | φ1000 | 406.94~40694.4 | 
| φ100 | 2.83~282.60 | φ1200 | 553.90~55389.6 | 
| φ150 | 6.36~635.85 | φ1600 | 723.46~72345.6 | 
| φ200 | 11.3~1130.4 | φ1800 | 915.62~91562.4 | 
| φ250 | 17.66~176.25. | φ2000 | 1130.4~113040.00 | 
| φ300 | 25.43~2543.40 | φ2200 | 1367.78~136778.4 | 
| φ350 | 34.62~3461.85 | φ2400 | 1627.78~162777.6 | 
| φ400 | 45.22~4521.6 | φ2600 | 1910.38~191037.6 | 
油田污水流量計襯里的選擇
| 襯里材料 | 主要性能 | *高介質溫度 | 適用范圍 | |
| 一體型 | 分離型 | |||
| 聚四氟乙烯(F4) | 是化學性能*穩定的一種塑料,能耐沸騰的鹽酸、硫酸、硝酸和王水,也能耐濃堿和各種有機溶劑。不耐三氟化氯、高溫三氟化氯、高流速液氟、液氧、自氧的腐蝕。 | 70℃ | 100℃ 150℃ (需特殊訂貨) | 1、濃酸、堿等強腐蝕性介質。 2、衛生類介質。 | 
| 聚全氟乙丙烯(F46) | 同F4,耐磨性、抗負壓能力高于F4。 | 同上 | ||
| 聚氟合乙烯(Fs) | 適用溫度上限較聚四氟乙烯低,但成本也較低。 | 80℃ | ||
| 聚氯丁橡膠 | 1、有極好的彈性,高度的扯斷力,耐磨性能好。2、耐一般低濃度酸、堿、鹽介質的腐蝕,不耐氧化介質的腐蝕。 | 80℃ 120℃ (需特殊訂貨) | 水、污水、弱磨損性的泥漿礦漿。 | |
| 聚氨酯橡膠 |                
				1、耐磨性能極強。 2、耐腐蝕性能較差。  | 80℃ | 中性強磨損的礦漿、煤漿、泥漿 | |
油田污水流量計電極的選擇
| 電極材料 | 耐蝕及耐磨性能 | 
| 不銹鋼0Crl8Nil2M02Ti | 用于工業用水、生活用水、污水等具有弱腐蝕性的介質,適用于石油、化工、鋼鐵等工業部門及,市政、環保等領域。 | 
| 哈氏合金B | 對沸點以下的一切濃度的鹽酸有良好的耐蝕性,也耐硫酸、磷酸、氫氟酸、有機酸等非氯化性酸、堿,非氧化性鹽液的腐蝕。 | 
| 哈氏合金C | 能耐非氧化性酸,如硝酸、混酸、或鉻酸與硫酸的混合介質的腐蝕,也耐氧化性鹽類如:Fe,Cu下或含其他氧化劑的腐蝕,如高于常溫的次氯酸鹽溶液、海水的腐蝕 | 
| 鈦 | 能耐海水、各種氯化物和次氯酸鹽、氧化性酸(包括發煙硫酸)、有機酸、堿的腐蝕。不耐較純的還原性酸(如硫酸、鹽酸)的腐蝕,但如酸中含有氧化劑(如硝酸、Fc++、Cu++)時,則腐蝕大為降低。 | 
| 鉭 | 具有優良的耐蝕性和玻璃很相似。除了氫氟酸、發煙硫酸、堿外,幾乎能耐一切化學介質(包括沸點的鹽酸、硝酸和l 50℃以下的硫酸)的腐蝕。在堿中刁;耐蝕。 | 
| 鉑/鈦合金 | 幾乎能耐一切化學介質,但不適用于王水和銨鹽。 | 
| 不銹鋼涂覆碳化鎢 | 用于無腐蝕性,強磨損性的介質。 | 
| 注: 由于介質種類繁多,其腐蝕性又受溫度、濃度、流速等復雜因素影響而變化,故本表僅供參考。用戶應根據實際情況自己做出選擇,必要時應做擬選材料的耐腐試驗,如掛片試驗。 | |
油田污水流量計型譜
| 型號 | 口徑 | ||||||||
| KMLD | 15~2600 | ||||||||
| 代號 | 安裝形式 | ||||||||
| Y | 一體式 | ||||||||
| F | 分體式 | ||||||||
| 代號 | 轉換器型號 | ||||||||
| ZA | 圓形 | ||||||||
| ZB | 方形 | ||||||||
| 代號 | 輸出信號 | ||||||||
| I.4 | 4~20mA | ||||||||
| f | 頻率 1KHz | ||||||||
| Rs | 串行通訊(485) | ||||||||
| C | 控制輸出 | ||||||||
| 代號 | 防爆要求 | ||||||||
| N | 無防爆 | ||||||||
| EX | 防爆(僅適用于分體式) | ||||||||
| 代號 | 介質溫度 | ||||||||
| T1 | ≤65℃ | ||||||||
| T2 | ≤120℃ | ||||||||
| T3 | ≤180℃(僅適用于分體式) | ||||||||
| 代號 | 內襯材質 | ||||||||
| NE | 氯丁橡膠(≤65℃) | ||||||||
| PTFE | 聚四氟乙烯(≤189℃) | ||||||||
| PVC | 聚氯乙烯(≤70℃) | ||||||||
| 代號 | 電極材質 | ||||||||
| 316L | 不銹鋼 | ||||||||
| HC | 哈氏合金C | ||||||||
| HB | 哈氏合金B | ||||||||
| Ti | 鈦 | ||||||||
| Ta | 鉭 | ||||||||















上一篇:dn350污水流量計|法蘭電磁式
下一篇:自來水流量表|分體電磁式


